Lietuvos BMW Klubas

Lietuvos BMW Klubo Forumas

Dabar yra 21 Lap 2025, 01:06

Visos datos yra UTC + 2 valandos [ DST ]


Forumo taisyklės


Čia aptariamos tik E36 modelių problemos, visa kita informacija bus be perspėjimo trinama.
Kuriant temas būtina nurodytį kėbulo koda laužtiniuose skliaustuose [], bei aiškiai įvardinti problemą temos pavadinime.



Naujos temos kūrimas Atsakyti į temą  [ 39 pranešimai(ų) ]  Eiti į 1, 2, 3  Kitas
Autorius Žinutė
StandartinėParašytas: 21 Geg 2009, 22:47 
Atsijungęs
 Aprašymas  
 
 
Registracija:
2008.12.04
Amžius:
36
Pranešimai:
1213
Miestas:
Klaipėda
Automobiliai:
auBi A6 2.5tdi+chip

ex E38 740i
ex E36 320 M50B20TU 93
Automobilio, apie kuri norite paklausti
Pagaminimo metai:1993
Variklis:M50B20
Degalai:benzinas

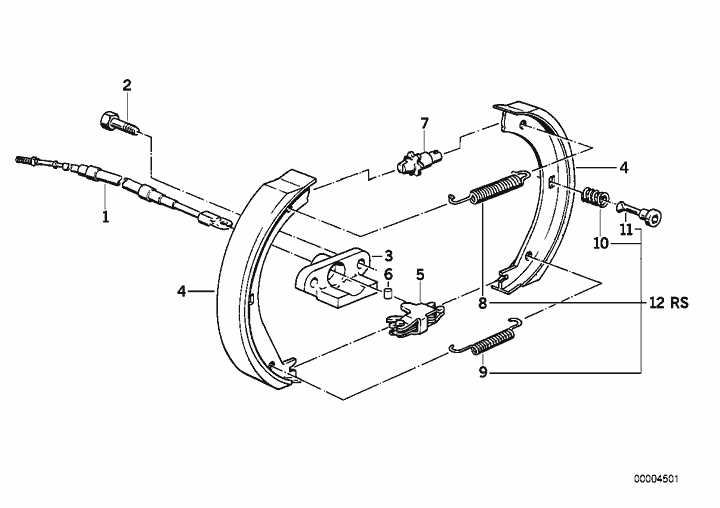
Problema/klausimas: sveiki kolegos,taigi norejau užklaust tokia tema,pas mane keleivio pusės kaladėlės pradėjo leist visokius negerus garsus,norint juos apramint tenkdavo užtraukt rankinį ir atleist,ir tas garsas dingdavo iki kito sukimo į posukį/stabdymo,kaip kartais užeidavo jam. Taigi aš jį išsiardau,nuėmų stabdžių diską, ir iškrenta 11 detalė (žiūrėti paveiklėlyje),tiksliau kas iš jos liko,spyruoklikės išvis neradau,o kitoj pusėj-chaltūra kaip supratau,vietoj tos 11 detalės,viela išlenkta ir maždaug pritvirtintos kaladėlės.
Klausimas toks:
1. Kokios kainos komplektukų ir/ar jie iškomplektuojami? (tarkim šiuo atveju man ten kelių varžtų su spyruoklytėm reikia,neviso kaladėlių komplekto)
2. Kaip įveržti pati rankinį? vieną tą pusę esu paveržęs pasukant 7 detalę (žiurėti paveikslėlyje),nu kazkiek padejo,rankinis pradejo veikti,nebeleisti garsų,bet silpnokai (sutvarkiau laikinai,priverždamas aliuminę vielą, pačias kaladėlęs ir išvaliau viską),esmė kaip pati "ričiagą" įveržti? nes jis man kyla lyg pat galo. Ant kitų automobilių buna troso tie suvaržymai,na,o,bet,tačiau ant savo BMW kolkas dar neradau jų,bent jau prie tilto kiek palindęs mačiau.


Prikabinti failai:
rankinio sudetis.png
rankinio sudetis.png [ 19.61 KiB | Peržiūrėta 11009 kartus(ų) ]
StandartinėParašytas: 21 Geg 2009, 22:53 
Atsijungęs
 Aprašymas  
 
 
Registracija:
2008.06.13
Amžius:
49
Pranešimai:
8325
Miestas:
Rumšiškės
Uzdejus diska sukelti kaladeles reikia atsuktuvu sukant detale 7 pro rato priverzimo skyle tol kol jos prades truputi liestis prie disko ir po to galitinai sureguliuoti varztais prie rankinio svirties salone, oda pakelsi ir pamatysi kas kaip.


StandartinėParašytas: 21 Geg 2009, 23:43 
Atsijungęs
 Aprašymas  
 
 
Registracija:
2008.12.04
Amžius:
36
Pranešimai:
1213
Miestas:
Klaipėda
Automobiliai:
auBi A6 2.5tdi+chip

ex E38 740i
ex E36 320 M50B20TU 93
Arunas B rašė:
Uzdejus diska sukelti kaladeles reikia atsuktuvu sukant detale 7 pro rato priverzimo skyle tol kol jos prades truputi liestis prie disko ir po to galitinai sureguliuoti varztais prie rankinio svirties salone, oda pakelsi ir pamatysi kas kaip.

na dėl įtempimo aišku bandysim žiūrėt.


StandartinėParašytas: 22 Geg 2009, 00:05 
Atsijungęs
 Aprašymas  
 
 
Registracija:
2008.03.23
Pranešimai:
768
Automobiliai:
ex. [E36] 328i
Turėjau kadaise šį galvos skausmą, pasidalinsiu patirtimi.
Pas mane išvis nebuvo to mechanizmo, teko pirktis naujų spyruoklių komplektą, kuris kainavo tikrai ne pigiai, 50-60 litų, vėliau radau ardomą automobilį ir nusipirkau reikiamas, trūkstamas detales. Viso kiek pamenu mokėjau 20 litų. Beliko tik viską tinkamai sujungti ir iki šiol puikiai veikia.


StandartinėParašytas: 22 Geg 2009, 00:34 
Atsijungęs
 Aprašymas  
 
 
Registracija:
2008.12.04
Amžius:
36
Pranešimai:
1213
Miestas:
Klaipėda
Automobiliai:
auBi A6 2.5tdi+chip

ex E38 740i
ex E36 320 M50B20TU 93
Deficitas rašė:
Turėjau kadaise šį galvos skausmą, pasidalinsiu patirtimi.
Pas mane išvis nebuvo to mechanizmo, teko pirktis naujų spyruoklių komplektą, kuris kainavo tikrai ne pigiai, 50-60 litų, vėliau radau ardomą automobilį ir nusipirkau reikiamas, trūkstamas detales. Viso kiek pamenu mokėjau 20 litų. Beliko tik viską tinkamai sujungti ir iki šiol puikiai veikia.

taprasme,tau to komplektuko neužteko?


StandartinėParašytas: 22 Geg 2009, 22:15 
Atsijungęs
 Aprašymas  
 
 
Registracija:
2008.11.30
Pranešimai:
65
su spyruokle tas kaladeles prilaikymo komplektas kainuoja 6lt :D pries pora savaiciu pirkau :wink:


StandartinėParašytas: 22 Geg 2009, 23:22 
Atsijungęs
 Aprašymas  
 
 
Vartotojo avataras
Registracija:
2008.10.08
Amžius:
38
Pranešimai:
166
Miestas:
Šiauliai
Automobiliai:
ex E36 320i, E46 m47 320D
TomMux rašė:
su spyruokle tas kaladeles prilaikymo komplektas kainuoja 6lt :D pries pora savaiciu pirkau :wink:


jai pirkai viena spiruokle tai tikiu kad kainavo 6 lt. Abiems ratams su viksatoriukais(varstais) ir spiruoklem 40 lt. Ir ten neieina tas kur reguliuoja nuo rankinio ir kitoj pusej kur reguliuojasi aukstis


StandartinėParašytas: 22 Geg 2009, 23:53 
Atsijungęs
 Aprašymas  
 
 
Registracija:
2008.11.01
Pranešimai:
955
Automobiliai:
E36 325i m50 vanos coupe 93m.
E46 330i 01m.
prie to pacio paklausiu,jei autorius neuzpyks. del rankinio efektyvumo, nes kazko tai silpnokai pas mane,nors kaladeles geros, beveik kaip naujos,trosai irgi gerai vaiksto,viduj visos dalys vaiksto nera nieko uzstrige,bet riedant uztraukus mazai efekto, juk gerai uztraukus turetu ratai ciuost.


StandartinėParašytas: 23 Geg 2009, 00:28 
Atsijungęs
 Aprašymas  
 
 
Registracija:
2008.06.13
Amžius:
49
Pranešimai:
8325
Miestas:
Rumšiškės
mindaugas14 rašė:
prie to pacio paklausiu,jei autorius neuzpyks. del rankinio efektyvumo, nes kazko tai silpnokai pas mane,nors kaladeles geros, beveik kaip naujos,trosai irgi gerai vaiksto,viduj visos dalys vaiksto nera nieko uzstrige,bet riedant uztraukus mazai efekto, juk gerai uztraukus turetu ratai ciuost.


Pasiziurek kokios ten tos kaladeles sudetos pas tave nes buna tokiu akmeniniu kur ta frikcine medziaga ant ju labai kieta tai ir su tokiom kaladelem rankinio stabdzio efektyvumas beveik nulis.


StandartinėParašytas: 23 Geg 2009, 00:31 
Atsijungęs
 Aprašymas  
 
 
Registracija:
2008.03.23
Pranešimai:
768
Automobiliai:
ex. [E36] 328i
Kregzdzius rašė:
taprasme,tau to komplektuko neužteko?


Taip, spyruoklėlių ir laikiklių neužteko, nes kaip ir minėjau, pas mane buvo tuščia (nebuvo nei 7, nei 4, nei 5 detalių)


StandartinėParašytas: 23 Geg 2009, 01:12 
Atsijungęs
 Aprašymas  
 
 
Registracija:
2008.12.04
Amžius:
36
Pranešimai:
1213
Miestas:
Klaipėda
Automobiliai:
auBi A6 2.5tdi+chip

ex E38 740i
ex E36 320 M50B20TU 93
aišku,dekui už pagalba,maždaug pradėjau gaudytis, kai ir kitą pusę išsiardžiau,kaladėlės jau nubaigtos beje,kita bėda tvirtinimai išsilakstė dėl nupūvusios skardos,kur įsideda tos 11 detalės,kaip suprantu skarda keist ar bandyt kaip nors mandriau haltūrint?gal patarimų yra?


StandartinėParašytas: 23 Geg 2009, 12:20 
Atsijungęs
 Aprašymas  
 
 
Registracija:
2008.11.30
Pranešimai:
65
artukss rašė:

jai pirkai viena spiruokle tai tikiu kad kainavo 6 lt. Abiems ratams su viksatoriukais(varstais) ir spiruoklem 40 lt. Ir ten neieina tas kur reguliuoja nuo rankinio ir kitoj pusej kur reguliuojasi aukstis


as kalbu apie 10 ir 11 detales, tai uz juos 2vnt mokejau 6lt, aisq kinietiskos detales :mrgreen:


StandartinėParašytas: 23 Geg 2009, 12:29 
Atsijungęs
 Aprašymas  
 
 
Registracija:
2008.12.04
Amžius:
36
Pranešimai:
1213
Miestas:
Klaipėda
Automobiliai:
auBi A6 2.5tdi+chip

ex E38 740i
ex E36 320 M50B20TU 93
TomMux rašė:

as kalbu apie 10 ir 11 detales, tai uz juos 2vnt mokejau 6lt, aisq kinietiskos detales :mrgreen:

Pas tave kartais ant 318i ne bugnai? čia kalba eina apie diskinius...


StandartinėParašytas: 23 Geg 2009, 18:17 
Atsijungęs
 Aprašymas  
 
 
Vartotojo avataras
Registracija:
2007.03.17
Amžius:
37
Pranešimai:
3533
Miestas:
Vilnius
Automobiliai:
ex.E34 520 M20 89'
ex.mazda 323 BG
ex.Mazda 626 GE crashed
ex.E36 316 M43 94'
ex.Aubi B4 94'
ex.Nissan Primera 97'
Aubi A4 TDI
Kregzdzius,tai tu gi imetei bugniniu stabdziu schema

_________________
...nes tai BMW


StandartinėParašytas: 23 Geg 2009, 21:22 
Atsijungęs
 Aprašymas  
 
 
Vartotojo avataras
Registracija:
2007.01.07
Amžius:
39
Pranešimai:
3728
Miestas:
Vilnius
Automobiliai:
E46 328Ci
ex : E36 318tds
Skype:
ann.t.m.2
Jara_E-34 rašė:
Kregzdzius,tai tu gi imetei bugniniu stabdziu schema

čia yra rankinio schema diskiniams stabdžiams :) - labai panašu į būgninius, bet skirtumas tas kad diskiniai stabdžių darbinis paviršius yra jo dvipusis išorinis žiedas+ vidinis rankinio mechanizmas, o būgniniuose tik rankinio mechanizmas (didesnis berods)ir cilindriukas stumiantis rankinio kaladėles prie darbinio paviršiaus nuspaudus stabdį.
http://bmwfans.info/parts/catalog/E36/S ... e_carrier/ -va būgnių stabdžių schema :)

_________________
1. nebrangiai,2. kokybiškai 3. greitai - štai kaip dirba garažiniai - rinkitės bet kokius 2 variantus :D


Rodyti paskutinius pranešimus:  Rūšiuoti pagal  
Naujos temos kūrimas Atsakyti į temą  [ 39 pranešimai(ų) ]  Eiti į 1, 2, 3  Kitas

Visos datos yra UTC + 2 valandos [ DST ]


Dabar prisijungę

Vartotojai naršantys šį forumą: Registruotų vartotojų nėra


Jūs negalite kurti naujų temų šiame forume
Jūs negalite atsakinėti į temas šiame forume
Jūs negalite redaguoti savo pranešimų šiame forume
Jūs negalite trinti savo pranešimų šiame forume
Jūs negalite prikabinti failų šiame forume

Ieškoti:
Pereiti į:  
Part of BMW Club Lithuania | Also visit BMW Club Gallery