Lietuvos BMW Klubas

Lietuvos BMW Klubo Forumas

Dabar yra 27 Lap 2025, 10:40

Visos datos yra UTC + 2 valandos [ DST ]


Forumo taisyklės


Privaloma naudotis paieška!!! Pasikartojančios temos bus trinamos, o autoriai įspėjami.

Kuriant naują temą, jos PAVADINIME, būtina laužtiniuose skliaustuose [] nurodyti automobilio kėbulo kodą, bei aiškiai suformuluoti problemą. To nepadarius, temos bus trinamos, o autoriai gaus įspėjimą.
E32, E65, E66 turi atskirus forumus !!!



Naujos temos kūrimas Atsakyti į temą  [ 99 pranešimai(ų) ]  Eiti į Ankstesnis  1, 2, 3, 4, 5, 6, 7  Kitas
Autorius Žinutė
StandartinėParašytas: 08 Sau 2013, 11:21 
Atsijungęs
 Aprašymas  
 
 
Registracija:
2008.12.04
Amžius:
36
Pranešimai:
1213
Miestas:
Klaipėda
Automobiliai:
auBi A6 2.5tdi+chip

ex E38 740i
ex E36 320 M50B20TU 93
kaip sniego valytuvui tai neblogai :D


StandartinėParašytas: 08 Sau 2013, 23:16 
Atsijungęs
 Aprašymas  
 
 
Vartotojo avataras
Registracija:
2011.12.30
Amžius:
32
Pranešimai:
1470
Miestas:
Vilnius
Automobiliai:
Opel Vectra GTS 2.2 '03
ex.E38 - 728i '96
Skype:
tomaszvalgas
Nikas:
L1F3
Kregzdzius rašė:
kaip sniego valytuvui tai neblogai :D


Blmb, nu iš tikro neblogai ;D Tokią turint, reiktų į savivaldybę kreiptis dėl dyzelio lengvatos kaip kelių prižiūrėtojui :D


StandartinėParašytas: 08 Sau 2013, 23:36 
Atsijungęs
 Aprašymas  
 
 
Registracija:
2008.12.04
Amžius:
36
Pranešimai:
1213
Miestas:
Klaipėda
Automobiliai:
auBi A6 2.5tdi+chip

ex E38 740i
ex E36 320 M50B20TU 93
tai jo jo :D


StandartinėParašytas: 22 Sau 2013, 21:38 
Atsijungęs
 Aprašymas  
 
 
Vartotojo avataras
Registracija:
2012.06.15
Amžius:
39
Pranešimai:
645
Miestas:
Šiauliai
Automobiliai:
Bmw E36 318i cabrio
Bmw e60 530i 190kw
ex bmw E39 2.5d 2003m
ex mb CLS 350
ex bmw e66 750 Li
ex bmw z3 1.8
ex bmw 7 E66 3.0 Ld
ex bmw 5 E60 3.0d.
ex bmw 7 E38 2.5tds
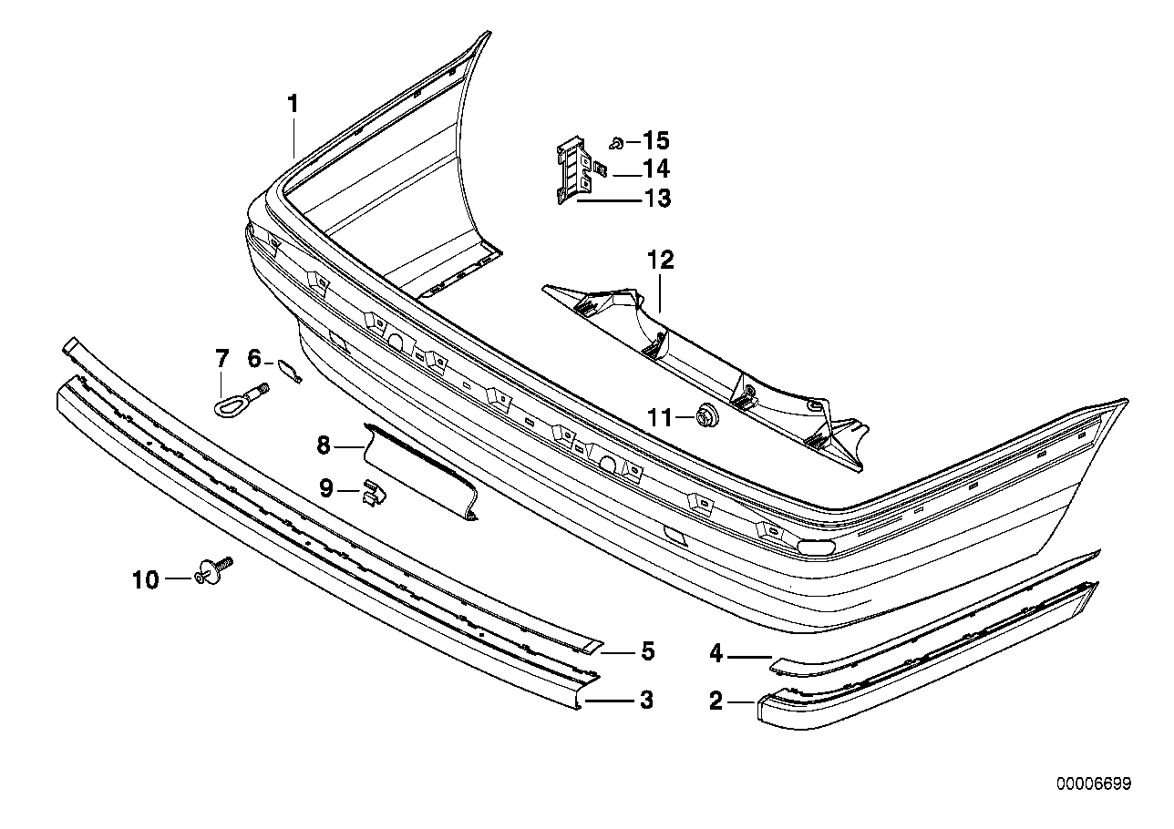
kazkas man rase, jog zino is kokio puslapio uzsisakyti sia trukstama detale ant bamperio (kabliui uzdengti):
Paveikslėlis

bet niekaip neberandu. gal galit padeti rasti ta puslapi is kurio galima uzsisakyti? kazkuris cia sake pirko, daugiau niekur nera. labai reikia.

_________________
Audio Slave


StandartinėParašytas: 24 Sau 2013, 01:04 
Atsijungęs
 Aprašymas  
 
 
Vartotojo avataras
Registracija:
2010.11.21
Amžius:
52
Pranešimai:
438
Miestas:
Vilnius
Automobiliai:
E38 740 95' cosmosschwarz metallic
Engine: M60, 4.0L V8, 210kW, 282hp, 400 N·m
Transmission: automatic
Upholstery: standardleder/schwarz
ASC+T, PDC, Klima, Xenon
R16 BMW OEM styling 61
bmwautodalys.lt
Dangtelis g.bamp.38
Dalies numeris: 51 12 8 204 410
Pristatymo terminas: 8 darbo dienos
Kaina: 97,20 Lt
( piešinėlyje detalė nr. 8 )


Prikabinti failai:
Dangtelis.png
Dangtelis.png [ 23.08 KiB | Peržiūrėta 6735 kartus(ų) ]

_________________
Только пусть ваша совесть не мешает вам ясно мыслить, а ваш разум пусть не стесняется, когда нужно, отстранить совесть…

Стругацкие «Обитаемый остров»
StandartinėParašytas: 24 Sau 2013, 09:49 
Atsijungęs
 Aprašymas  
 
 
Vartotojo avataras
Registracija:
2012.06.15
Amžius:
39
Pranešimai:
645
Miestas:
Šiauliai
Automobiliai:
Bmw E36 318i cabrio
Bmw e60 530i 190kw
ex bmw E39 2.5d 2003m
ex mb CLS 350
ex bmw e66 750 Li
ex bmw z3 1.8
ex bmw 7 E66 3.0 Ld
ex bmw 5 E60 3.0d.
ex bmw 7 E38 2.5tds
Ten buvo kitas puslapis, bet jo, koks skirtumas, kaina tapati, jau vakar kazkas prirode visas trukstamas detales is to puslapio. 330lt kainuos, bet reikia susipirkti, uzkniso ieskoti, nervai daugiau kainuoja :) ačiū.

_________________
Audio Slave


StandartinėParašytas: 24 Sau 2013, 20:42 
Atsijungęs
 Aprašymas  
 
 
Registracija:
2007.08.15
Amžius:
37
Pranešimai:
984
Miestas:
Elektrėnai
Automobiliai:
E34 92m 525tds ex
E39 96m 525tds ex
E30 85m 318i ex
E36 92m 318 ex
E32 87m 735 ex
E38 96m 735 ex
E38 99m 740iL
Skype:
waidas5
insaid.lt ten sitas detale ant 10 lt pigiau, as ten pirkau, bet perkant prie to dangtelo atskirai reikia pirkti ir detale numeris 9, 4 vnt nes ta plastmase yra be siu laikikliu, o be siulaikikliu pamesi dangteli, as aisku nusipirkau be tu fiksatriu tia paskui vargau kol issilanksciau pagal originala tinkamus laikilius, nes papildomai siustis butu perbrangus malonumas


StandartinėParašytas: 25 Sau 2013, 20:58 
Atsijungęs
 Aprašymas  
 
 
Vartotojo avataras
Registracija:
2012.06.15
Amžius:
39
Pranešimai:
645
Miestas:
Šiauliai
Automobiliai:
Bmw E36 318i cabrio
Bmw e60 530i 190kw
ex bmw E39 2.5d 2003m
ex mb CLS 350
ex bmw e66 750 Li
ex bmw z3 1.8
ex bmw 7 E66 3.0 Ld
ex bmw 5 E60 3.0d.
ex bmw 7 E38 2.5tds
jo, is insaid uzsisakiau. man pasake, kad tai kas bus reikalinga pakeitimui - bus. Bet as dar karta paklausiau del galinio bamperio dangtelio. ziuresim ka atrasys

_________________
Audio Slave


StandartinėParašytas: 28 Sau 2013, 20:05 
Atsijungęs
 Aprašymas  
 
 
Registracija:
2007.08.15
Amžius:
37
Pranešimai:
984
Miestas:
Elektrėnai
Automobiliai:
E34 92m 525tds ex
E39 96m 525tds ex
E30 85m 318i ex
E36 92m 318 ex
E32 87m 735 ex
E38 96m 735 ex
E38 99m 740iL
Skype:
waidas5
nu as tau garantuoju kad nebus tu laikikliu, nes tie laikikliai yra pazymeti numeriu 9 o jie atskirai parsiduoda ir be ju tas dangtelis laikosi bet tol kl nevaziuoji , iki pirmos duobes be tu laikikliu davaziuosi ir pamesi, man buvo toks variantas kad atsiunte pilnai nauja supakuota originaliai ir nebu laikikliu, norejau pernauja uzsisakyti , tai vieneto kaina 2,30uz vnt minimum reikia pirkti 10vnt plius dar siuntimas ir gaunasi kad tau keturi laikikliai kainuos apie 50 lt o butum iskarto uzsisakes kaip buvaiperspetas butu buve pigiau, arbe teks burti kaip as kad buriau ir pats juos lanksciausi, bet lanksciausi turedamas pavizdi, o jei neturi pavyzdzio kazina kaip lankstysi.

P.s. Pranesk kaip pasiseke ar gavai laikiklius ar ne, bet abejoju kad gausi nes jie net koda turi atskira ir savo atsikra kaina :)


StandartinėParašytas: 28 Sau 2013, 20:56 
Atsijungęs
 Aprašymas  
 
 
Vartotojo avataras
Registracija:
2012.06.15
Amžius:
39
Pranešimai:
645
Miestas:
Šiauliai
Automobiliai:
Bmw E36 318i cabrio
Bmw e60 530i 190kw
ex bmw E39 2.5d 2003m
ex mb CLS 350
ex bmw e66 750 Li
ex bmw z3 1.8
ex bmw 7 E66 3.0 Ld
ex bmw 5 E60 3.0d.
ex bmw 7 E38 2.5tds
"esame pardave kelis tokius laikiklius ir siuos detales tvirtinimai buvo komplekte."

_________________
Audio Slave


StandartinėParašytas: 29 Sau 2013, 18:43 
Atsijungęs
 Aprašymas  
 
 
Registracija:
2007.08.15
Amžius:
37
Pranešimai:
984
Miestas:
Elektrėnai
Automobiliai:
E34 92m 525tds ex
E39 96m 525tds ex
E30 85m 318i ex
E36 92m 318 ex
E32 87m 735 ex
E38 96m 735 ex
E38 99m 740iL
Skype:
waidas5
nu tu kai turesi detale rankoje tai tada pasakayk o ne tada ka parase, ns man sakau atsiunte supakuota originalioje pakuoteje ir nebuvo jokiu laikikliu, nebent cia man taip nepasiseke :D


StandartinėParašytas: 04 Vas 2013, 21:02 
Atsijungęs
 Aprašymas  
 
 
Registracija:
2007.08.15
Amžius:
37
Pranešimai:
984
Miestas:
Elektrėnai
Automobiliai:
E34 92m 525tds ex
E39 96m 525tds ex
E30 85m 318i ex
E36 92m 318 ex
E32 87m 735 ex
E38 96m 735 ex
E38 99m 740iL
Skype:
waidas5
na tai kaip ten del tu laikikliu? ar buvo ipakavima?:)


StandartinėParašytas: 14 Vas 2013, 20:29 
Atsijungęs
 Aprašymas  
 
 
Vartotojo avataras
Registracija:
2012.06.15
Amžius:
39
Pranešimai:
645
Miestas:
Šiauliai
Automobiliai:
Bmw E36 318i cabrio
Bmw e60 530i 190kw
ex bmw E39 2.5d 2003m
ex mb CLS 350
ex bmw e66 750 Li
ex bmw z3 1.8
ex bmw 7 E66 3.0 Ld
ex bmw 5 E60 3.0d.
ex bmw 7 E38 2.5tds
http://i.imgur.com/rgwT6MT.jpg

nu va toki gavau. jis isideda gerai, galvojau laiko, bet kazkaip ranka uzkliuvo is apacios ir nukrito :D tai vazineti apasna butu. kaip pritvirtinti dabar. kaip prichimychinti. be to spalva ir "medziaga" skiriasi atrodo, nei bamperio. ;/

Kudikis, toki pat gavai?

_________________
Audio Slave


StandartinėParašytas: 14 Vas 2013, 21:08 
Atsijungęs
 Aprašymas  
 
 
Registracija:
2007.08.15
Amžius:
37
Pranešimai:
984
Miestas:
Elektrėnai
Automobiliai:
E34 92m 525tds ex
E39 96m 525tds ex
E30 85m 318i ex
E36 92m 318 ex
E32 87m 735 ex
E38 96m 735 ex
E38 99m 740iL
Skype:
waidas5
minimaLTechno rašė:
http://i.imgur.com/rgwT6MT.jpg

nu va toki gavau. jis isideda gerai, galvojau laiko, bet kazkaip ranka uzkliuvo is apacios ir nukrito :D tai vazineti apasna butu. kaip pritvirtinti dabar. kaip prichimychinti. be to spalva ir "medziaga" skiriasi atrodo, nei bamperio. ;/

Kudikis, toki pat gavai?

=D> #-o as gi tau sakiau iskarto uzsisakinek laiklius :mrgreen: , taip gavau toki, jis toks ir turi buti, ten nera metaliniu fiksatoriu delto nesilaiko, nufotkinsiu tuos laikiklius kur pats lanksciausiu :mrgreen: o tu gi buvai perspetas kad uzsisakyk


StandartinėParašytas: 14 Vas 2013, 21:53 
Atsijungęs
 Aprašymas  
 
 
Vartotojo avataras
Registracija:
2012.06.15
Amžius:
39
Pranešimai:
645
Miestas:
Šiauliai
Automobiliai:
Bmw E36 318i cabrio
Bmw e60 530i 190kw
ex bmw E39 2.5d 2003m
ex mb CLS 350
ex bmw e66 750 Li
ex bmw z3 1.8
ex bmw 7 E66 3.0 Ld
ex bmw 5 E60 3.0d.
ex bmw 7 E38 2.5tds
o mane itikino, kad nereikia.
greit papasakok is ko pasidaryti fiksatorius ir kaip. nes rytoj po darbo pas drauga i garaza vaziuosiu ir viska susitvarkyti noresiu

_________________
Audio Slave


Rodyti paskutinius pranešimus:  Rūšiuoti pagal  
Naujos temos kūrimas Atsakyti į temą  [ 99 pranešimai(ų) ]  Eiti į Ankstesnis  1, 2, 3, 4, 5, 6, 7  Kitas

Visos datos yra UTC + 2 valandos [ DST ]


Dabar prisijungę

Vartotojai naršantys šį forumą: Registruotų vartotojų nėra


Jūs negalite kurti naujų temų šiame forume
Jūs negalite atsakinėti į temas šiame forume
Jūs negalite redaguoti savo pranešimų šiame forume
Jūs negalite trinti savo pranešimų šiame forume
Jūs negalite prikabinti failų šiame forume

Ieškoti:
Pereiti į:  
Part of BMW Club Lithuania | Also visit BMW Club Gallery