Lietuvos BMW Klubas

Lietuvos BMW Klubo Forumas

Dabar yra 21 Bal 2026, 13:42

Visos datos yra UTC + 2 valandos [ DST ]


Forumo taisyklės


Čia aptariamos tik E60 ir E61 modelių problemos, visa kita informacija bus be perspėjimo trinama.
Kuriant temas būtina nurodytį kėbulo koda laužtiniuose skliaustuose [], bei aiškiai įvardinti problemą temos pavadinime.



Naujos temos kūrimas Atsakyti į temą  [ 118 pranešimai(ų) ]  Eiti į Ankstesnis  1 ... 4, 5, 6, 7, 8  Kitas
Autorius Žinutė
StandartinėParašytas: 16 Bal 2014, 08:45 
Atsijungęs
 Aprašymas  
 
 
Vartotojo avataras
Registracija:
2004.04.15
Amžius:
48
Pranešimai:
169
Miestas:
Viena, Austrija
Automobiliai:
E61 530D LCI A-Sport M-Package
ex E34 M50B25 '90
vytas85 rašė:
kazka tu cia nukalbi,isimi apatini apmusima ir viskas o tos daiktadezes lieka ant zapaskes.


O tai ką aš parašiau? "Pas mane niekaip neįkiši neišpjovęs ar neišlupęs pusės uždengimų".
Be to, apie kurias daiktadėžes kalbame?
Pas mane 1.png. tai rato niekaip nesugebėjau įkišt, nes per pat vidurį eina skersinis.


Prikabinti failai:
1.png
1.png [ 21.5 KiB | Peržiūrėta 6640 kartus(ų) ]
2.png
2.png [ 21.94 KiB | Peržiūrėta 6640 kartus(ų) ]
StandartinėParašytas: 16 Bal 2014, 10:51 
Atsijungęs
 Aprašymas  
 
 
Registracija:
2008.06.13
Amžius:
49
Pranešimai:
8332
Miestas:
Rumšiškės
Orginalu atsargini rata dedant nieko pjaustyti nereik reik tik isimt plastmasini grindu gaubta. O ka tu ten pjaustei tai jau cia tavo fantazija.


StandartinėParašytas: 16 Bal 2014, 12:33 
Atsijungęs
 Aprašymas  
 
 
Vartotojo avataras
Registracija:
2004.04.15
Amžius:
48
Pranešimai:
169
Miestas:
Viena, Austrija
Automobiliai:
E61 530D LCI A-Sport M-Package
ex E34 M50B25 '90
Arunas B rašė:
Orginalu atsargini rata dedant nieko pjaustyti nereik reik tik isimt plastmasini grindu gaubta. O ka tu ten pjaustei tai jau cia tavo fantazija.


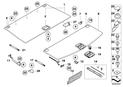
Nepjausčiau nieko. Bandžiau dėt nieko nepjaustęs ir nelupęs - nepavyko. Gal išlupus grindų gaubtą ir eitu įdėt, nors iš pirmo žvilgsnio man tai pasirodė nerealu (matosi, kad nelabai praeina pro skersinį). Gal išlupus tą gaubtą duobė stipriai pažemės ir tas skersinis nebetrukdys. Ar kas esat dėję ratą su tokia daiktadėžę? Ar išlupus tą gaubtą eina į jo vietą įdėt kitą, pritaikytą ratui (51 47 7 137 461)?


StandartinėParašytas: 16 Bal 2014, 14:50 
Atsijungęs
 Aprašymas  
 
 
Vartotojo avataras
Registracija:
2009.05.17
Pranešimai:
3777
Automobiliai:
E30 tc-baur cabrio
E36 325
chrysler sebring cabrio
toyota celica cabrio
E36 328 cabrio
bmw e61
grand voyager 3.3
w220 320cdi
Bmw m3 E36
bmw 325 cabrio E30
Bmw 535d e60
Bmw 535d f10
Renis rašė:

Nepjausčiau nieko. Bandžiau dėt nieko nepjaustęs ir nelupęs - nepavyko. Gal išlupus grindų gaubtą ir eitu įdėt, nors iš pirmo žvilgsnio man tai pasirodė nerealu (matosi, kad nelabai praeina pro skersinį). Gal išlupus tą gaubtą duobė stipriai pažemės ir tas skersinis nebetrukdys. Ar kas esat dėję ratą su tokia daiktadėžę? Ar išlupus tą gaubtą eina į jo vietą įdėt kitą, pritaikytą ratui (51 47 7 137 461)?

tau tu isimk ta gaubta ir idesi ta zapaske.


StandartinėParašytas: 16 Bal 2014, 17:14 
Atsijungęs
 Aprašymas  
 
 
Vartotojo avataras
Registracija:
2013.02.15
Amžius:
107
Pranešimai:
1743
Miestas:
Kaunas
Automobiliai:
BMW F11 530xD LCI sophistograu;
ex: f11 alpinaweis, e61, E39, E34, e30x2;
As ispjoviau grindu gaubto pora vietu, ratas isidejo net isispaude ir isitvirtino is virsaus pjaustimo nesimato. Dangtis vientisas. Ratas r17 slimas.

_________________
Pries idiota laimeti ginca neimanoma... reikia kristi i idioto "lygi", o ten laimi jo patirtis.


StandartinėParašytas: 30 Bal 2014, 22:54 
Atsijungęs
 Aprašymas  
 
 
Registracija:
2012.01.02
Pranešimai:
114
Miestas:
Kaunas
Automobiliai:
E61 530d 04
Nzn ar tinka, bet kaina normali, gal kam pravers.
http://auto.plius.lt/skelbimai/kita-lan ... 09874.html


StandartinėParašytas: 01 Geg 2014, 09:09 
Atsijungęs
 Aprašymas  
 
 
Vartotojo avataras
Registracija:
2013.02.15
Amžius:
107
Pranešimai:
1743
Miestas:
Kaunas
Automobiliai:
BMW F11 530xD LCI sophistograu;
ex: f11 alpinaweis, e61, E39, E34, e30x2;
staska rašė:
Nzn ar tinka, bet kaina normali, gal kam pravers.
http://auto.plius.lt/skelbimai/kita-lan ... 09874.html

Netgi jei tnka uzdeti, kur ji kisti masinoje?

_________________
Pries idiota laimeti ginca neimanoma... reikia kristi i idioto "lygi", o ten laimi jo patirtis.


StandartinėParašytas: 01 Bir 2014, 13:22 
Atsijungęs
 Aprašymas  
 
 
Vartotojo avataras
Registracija:
2009.05.17
Pranešimai:
3777
Automobiliai:
E30 tc-baur cabrio
E36 325
chrysler sebring cabrio
toyota celica cabrio
E36 328 cabrio
bmw e61
grand voyager 3.3
w220 320cdi
Bmw m3 E36
bmw 325 cabrio E30
Bmw 535d e60
Bmw 535d f10
griebkit kam reikia e60 zapaskes viewtopic.php?f=71&t=128988


StandartinėParašytas: 01 Bir 2014, 23:19 
Atsijungęs
 Aprašymas  
 
 
Vartotojo avataras
Registracija:
2006.02.14
Amžius:
41
Pranešimai:
1399
Miestas:
Kaunas
Automobiliai:
X5 xDrive30d '09
Skype:
fructazz
vytas85 rašė:
griebkit kam reikia e60 zapaskes viewtopic.php?f=71&t=128988



E46 "tabletes" neuzdesi ant E60 priekio... Tokios srote po 80lt kainuoja, turejau tokia, teko pirkti normalia :)


StandartinėParašytas: 02 Bir 2014, 00:19 
Atsijungęs
 Aprašymas  
 
 
Vartotojo avataras
Registracija:
2009.05.17
Pranešimai:
3777
Automobiliai:
E30 tc-baur cabrio
E36 325
chrysler sebring cabrio
toyota celica cabrio
E36 328 cabrio
bmw e61
grand voyager 3.3
w220 320cdi
Bmw m3 E36
bmw 325 cabrio E30
Bmw 535d e60
Bmw 535d f10
fructazz rašė:


E46 "tabletes" neuzdesi ant E60 priekio... Tokios srote po 80lt kainuoja, turejau tokia, teko pirkti normalia :)

tu cia apie r17?


StandartinėParašytas: 02 Bir 2014, 09:16 
Atsijungęs
 Aprašymas  
 
 
Vartotojo avataras
Registracija:
2006.02.14
Amžius:
41
Pranešimai:
1399
Miestas:
Kaunas
Automobiliai:
X5 xDrive30d '09
Skype:
fructazz
vytas85 rašė:
tu cia apie r17?



Taip ;)


StandartinėParašytas: 02 Bir 2014, 14:24 
Atsijungęs
 Aprašymas  
 
 
Vartotojo avataras
Registracija:
2009.12.22
Amžius:
39
Pranešimai:
166
Miestas:
Kaunas
Automobiliai:
E61 530d Lci 07'
Nebejuokink,naudojau,viskas ten idealu


StandartinėParašytas: 03 Bir 2014, 14:32 
Atsijungęs
 Aprašymas  
 
 
Vartotojo avataras
Registracija:
2006.02.14
Amžius:
41
Pranešimai:
1399
Miestas:
Kaunas
Automobiliai:
X5 xDrive30d '09
Skype:
fructazz
deiwidas rašė:
Nebejuokink,naudojau,viskas ten idealu




Buciau pas neturejes, nesakyciau ;) Del netinkamo et ant priekinio neuzsidejo ;) Gale viskas ok. Buvo nuo E46 ir r17 :)


StandartinėParašytas: 03 Bir 2014, 14:33 
Atsijungęs
 Aprašymas  
 
 
Vartotojo avataras
Registracija:
2006.02.14
Amžius:
41
Pranešimai:
1399
Miestas:
Kaunas
Automobiliai:
X5 xDrive30d '09
Skype:
fructazz
Dabar nusipirkes r17 butent nuo e60 ir viskas puiku :)


StandartinėParašytas: 03 Bir 2014, 14:57 
Atsijungęs
 Aprašymas  
 
 
Vartotojo avataras
Registracija:
2009.05.17
Pranešimai:
3777
Automobiliai:
E30 tc-baur cabrio
E36 325
chrysler sebring cabrio
toyota celica cabrio
E36 328 cabrio
bmw e61
grand voyager 3.3
w220 320cdi
Bmw m3 E36
bmw 325 cabrio E30
Bmw 535d e60
Bmw 535d f10
fructazz rašė:



Buciau pas neturejes, nesakyciau ;) Del netinkamo et ant priekinio neuzsidejo ;) Gale viskas ok. Buvo nuo E46 ir r17 :)

tai issitekini rastafke pora cm storio ir turetu tikti.
o ten kolega gal bande ant savo 525d uzdeti,pas ji stabdziai mazesni negu 530d ir kogero jam tiko.


Rodyti paskutinius pranešimus:  Rūšiuoti pagal  
Naujos temos kūrimas Atsakyti į temą  [ 118 pranešimai(ų) ]  Eiti į Ankstesnis  1 ... 4, 5, 6, 7, 8  Kitas

Visos datos yra UTC + 2 valandos [ DST ]


Dabar prisijungę

Vartotojai naršantys šį forumą: Registruotų vartotojų nėra


Jūs negalite kurti naujų temų šiame forume
Jūs negalite atsakinėti į temas šiame forume
Jūs negalite redaguoti savo pranešimų šiame forume
Jūs negalite trinti savo pranešimų šiame forume
Jūs negalite prikabinti failų šiame forume

Ieškoti:
Pereiti į:  
cron
Part of BMW Club Lithuania | Also visit BMW Club Gallery