Lietuvos BMW Klubas

Lietuvos BMW Klubo Forumas

Dabar yra 30 Lap 2025, 06:18

Visos datos yra UTC + 2 valandos [ DST ]


Forumo taisyklės


Privaloma naudotis paieška!!! Pasikartojančios temos bus trinamos, o autoriai įspėjami.

Kuriant naują temą, jos PAVADINIME, būtina laužtiniuose skliaustuose [] nurodyti automobilio kėbulo kodą, bei aiškiai suformuluoti problemą. To nepadarius, temos bus trinamos, o autoriai gaus įspėjimą.
E32, E65, E66 turi atskirus forumus !!!



Naujos temos kūrimas Atsakyti į temą  [ 3 pranešimai(ų) ] 
Autorius Žinutė
StandartinėParašytas: 28 Bal 2010, 18:14 
Atsijungęs
 Aprašymas  
 
 
Registracija:
2009.10.28
Pranešimai:
66
Miestas:
Vilnius
Automobiliai:
E38 740i M62 99'
Automobilio, apie kuri norite paklausti
Pagaminimo metai:1999
Variklis:4.4
Degalai:Benz

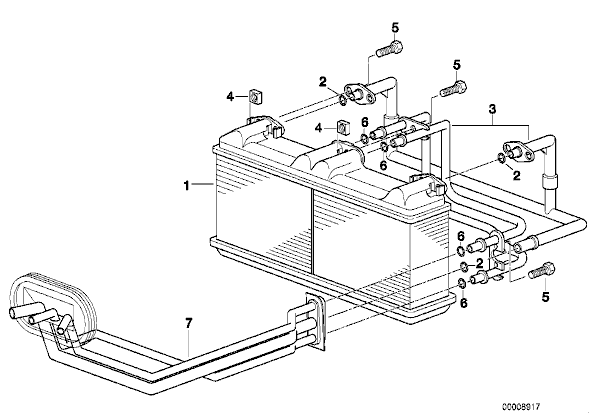
Problema/klausimas:sveiki visi,reikia informacijos! gal kas turit kokia shema ausinimo sistemos,kur atskiras (nepriklausomas) vairuotojo,keleivio ir galiniu keleiviu apsildymas? kiek ieskojau niekur neradau. kiek zinau ir maciau pas visus i salona eina 3 slangos o pas mane 6 :? tai reik tiksliai issiaskint kas kur. ir isvis ar turit kas toki CIUDA AUTO?


Paskutinį kartą redagavo bannyk 28 Bal 2010, 21:54. Iš viso redaguota 1 kartą.

StandartinėParašytas: 28 Bal 2010, 19:56 
Atsijungęs
 Aprašymas  
 
 
Registracija:
2010.04.22
Pranešimai:
14
Automobiliai:
E38 728 98'
kazkada ir as jieskojau tokiu schemu bet neradau niekur,pas mane 728 98m


StandartinėParašytas: 28 Bal 2010, 21:53 
Atsijungęs
 Aprašymas  
 
 
Registracija:
2009.10.28
Pranešimai:
66
Miestas:
Vilnius
Automobiliai:
E38 740i M62 99'
ne tai daugumoi paprastai viskas:
eina 3 slangai,o pas mane dar +3 viso 6 ir reik issiaskink kuris kur eina ir kam reikalingas???


Prikabinti failai:
18.png
18.png [ 12.37 KiB | Peržiūrėta 1874 kartus(ų) ]
Rodyti paskutinius pranešimus:  Rūšiuoti pagal  
Naujos temos kūrimas Atsakyti į temą  [ 3 pranešimai(ų) ] 

Visos datos yra UTC + 2 valandos [ DST ]


Dabar prisijungę

Vartotojai naršantys šį forumą: Registruotų vartotojų nėra


Jūs negalite kurti naujų temų šiame forume
Jūs negalite atsakinėti į temas šiame forume
Jūs negalite redaguoti savo pranešimų šiame forume
Jūs negalite trinti savo pranešimų šiame forume
Jūs negalite prikabinti failų šiame forume

Ieškoti:
Pereiti į:  
Part of BMW Club Lithuania | Also visit BMW Club Gallery