Lietuvos BMW Klubas

Lietuvos BMW Klubo Forumas

Dabar yra 21 Lap 2025, 01:26

Visos datos yra UTC + 2 valandos [ DST ]


Forumo taisyklės


Čia aptariamos tik E36 modelių problemos, visa kita informacija bus be perspėjimo trinama.
Kuriant temas būtina nurodytį kėbulo koda laužtiniuose skliaustuose [], bei aiškiai įvardinti problemą temos pavadinime.



Naujos temos kūrimas Atsakyti į temą  [ 42 pranešimai(ų) ]  Eiti į Ankstesnis  1, 2, 3  Kitas
Autorius Žinutė
StandartinėParašytas: 18 Bal 2010, 09:29 
Atsijungęs
 Aprašymas  
 
 
Vartotojo avataras
Registracija:
2008.01.23
Amžius:
38
Pranešimai:
146
Miestas:
Šiauliai
Automobiliai:
E36 318 92'
Kuo toliau tuo labiau man ta bėda aštriau pasireiškia, dabar ir pašaudo ant dujų. Dar pastebėjau, kad ant laisvų dreba mašina (gal nebedirba cilindras?). Kai pradeda nebedirbt mašina lėtai didinu apsukas ir po truputi prasičiaudo ir viskas gerai visą diena tada būna. (O jei pradėjus čiaudyt spaudi daug gazo, dažnai šauna). Tai pradėjau žvakes tikrint, visos lyg ir geros išskyrus pačią tolimiausią (radau juoda, lyg ir apsitepalavusią). Nuvaliau užkuriau lyg ir mažiau purtosi, geriau reaguoja į gazą. Tiesa ilgiau dar nevažinėjau ir neįsitikinau ar čia bėda buvo.

Bet visada pradeda čiaudyti kai palyja ir mašina pastovėjo per naktį, todėl manau, kad dar neišispręs mano bėda. Gal dabar vertėtų babiną keisti?

_________________
BMW negenda, tik kartais tarpinė, tarp sėdynės ir vairo išeina iš rikiuotės.


StandartinėParašytas: 18 Bal 2010, 11:09 
Atsijungęs
 Aprašymas  
 
 
Vartotojo avataras
Registracija:
2005.08.27
Amžius:
55
Pranešimai:
9724
Miestas:
Kaunas
Automobiliai:
BMW E36 328Ci
BMW e92 330d
BMW e90 320d
BMW K1200GT
Skype:
maisteris
pradek nuo laidu

_________________
Antanas.E36Coupe


StandartinėParašytas: 21 Bal 2010, 11:54 
Atsijungęs
 Aprašymas  
 
 
Vartotojo avataras
Registracija:
2008.01.23
Amžius:
38
Pranešimai:
146
Miestas:
Šiauliai
Automobiliai:
E36 318 92'
Laidai tikrinti, pasiskolinau iš draugo. Nėra jokių pasikeitimų.

Tiesa, pastebėjau, kad po žvakių pravalymo trūkčiojimas trunka žymiai trumpiau seniau būdavo kažkur apie 20 sek., dabar truko vos 5 sek. (Nors mašina stovėjo nekurta beveik 2 dienas, o naktį lijo). Pamėginsiu išvis naujas sudėti ir pažiūrėsiu rezultatą.

_________________
BMW negenda, tik kartais tarpinė, tarp sėdynės ir vairo išeina iš rikiuotės.


StandartinėParašytas: 24 Bal 2010, 14:56 
Atsijungęs
 Aprašymas  
 
 
Vartotojo avataras
Registracija:
2008.01.23
Amžius:
38
Pranešimai:
146
Miestas:
Šiauliai
Automobiliai:
E36 318 92'
Vakar dar stipriau pasireiškė nei iš šio nei iš to. Gatvėj pradėjo nebetraukt, užgeso. Nebegaliu užkut tik kuriu ir vėl tuoj nušauna, uždedi šlangutę, kuri ir vėl tas pats... Tada atjungiau lev laidus (maniau per liesa duoda ar pan, nes prie jo visada nusaudavo slangute), pradėjau vėl kurt po truputi pradejo kurtis, lyg kokie 2 cilindrai tik veiktu, laikau gazą toliau kuo toliau garsas panašėja į normalų taip kokias 10 s, ir viskas vėl normaliai veikia, trauka atrodo dar geresnė nei buvo, kiek bekuriau ir važinėjau tą dieną viskas ok. Netikiu ked lev ten turėjo kokios įtakos, gal tik sutapo.

Tiesa pakalaust norėjau keletą dalykų:
1. Pas mane uždėta tokia guma, šiek tiek kiaura buvo, tai užklijavau, galėjo dėl to pritraukt drėgmės?
2. Ar čia turi dėtis kokia plastamsinė apsauga? Nes pas mane nėra, galbūt irgi drėgmę gauno pro čia?


Prikabinti failai:
1.jpg
1.jpg [ 83.78 KiB | Peržiūrėta 4893 kartus(ų) ]

_________________
BMW negenda, tik kartais tarpinė, tarp sėdynės ir vairo išeina iš rikiuotės.
StandartinėParašytas: 18 Geg 2010, 23:45 
Atsijungęs
 Aprašymas  
 
 
Vartotojo avataras
Registracija:
2008.01.23
Amžius:
38
Pranešimai:
146
Miestas:
Šiauliai
Automobiliai:
E36 318 92'
Pagaliau susitvarkiau, jau 4 dienos, lijo gerai bet mašinai tai įtakos nebedaro. Pasirodo tereikėjo gerai pravalyt skriejiką su dangteliu. Trauka žymiai geresnė ir kuriasi greičiau :) Tik keista, kad trukčiodavo kai pašildavo, tai ir klaidindavo kur ieškot problemos. Galbūt kam padės ateityje ši tema. Ačiū tiems, kas padėjote.

_________________
BMW negenda, tik kartais tarpinė, tarp sėdynės ir vairo išeina iš rikiuotės.


StandartinėParašytas: 19 Geg 2010, 18:38 
Atsijungęs
 Aprašymas  
 
 
Vartotojo avataras
Registracija:
2009.02.27
Pranešimai:
1049
Automobiliai:
Ex E36 coupe 318is M42
o kur tas skriejikas randas?

_________________
bmwfan


StandartinėParašytas: 19 Geg 2010, 21:10 
Atsijungęs
 Aprašymas  
 
 
Registracija:
2009.09.19
Pranešimai:
3
Automobiliai:
E30 316 M10 87'
E36 318tds M41 96'
lowrider rašė:
o kur tas skriejikas randas?

Ten pat kur ir "begunokas" :lol:


StandartinėParašytas: 19 Geg 2010, 21:10 
Atsijungęs
 Aprašymas  
 
 
Vartotojo avataras
Registracija:
2007.07.25
Amžius:
39
Pranešimai:
311
Miestas:
Vilnius
Automobiliai:
E46 328
Blackmore rašė:
Ten pat kur ir "begunokas" :lol:


begunokas :mrgreen:

_________________
Never trust anything that doesn't have an engine.


StandartinėParašytas: 19 Geg 2010, 21:39 
Atsijungęs
 Aprašymas  
 
 
Vartotojo avataras
Registracija:
2009.02.27
Pranešimai:
1049
Automobiliai:
Ex E36 coupe 318is M42
krc chebryte pa litovsky umeyte? :D

_________________
bmwfan


StandartinėParašytas: 19 Geg 2010, 21:40 
Atsijungęs
 Aprašymas  
 
 
Vartotojo avataras
Registracija:
2009.02.27
Pranešimai:
1049
Automobiliai:
Ex E36 coupe 318is M42
pagal sita nuoroda nurodykit kuris tas skriejikas?

http://bmwfans.info/parts/catalog/E36/C ... ne/browse/

_________________
bmwfan


StandartinėParašytas: 19 Geg 2010, 23:36 
Atsijungęs
 Aprašymas  
 
 
Vartotojo avataras
Registracija:
2008.01.23
Amžius:
38
Pranešimai:
146
Miestas:
Šiauliai
Automobiliai:
E36 318 92'
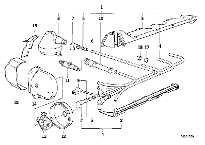
Galbūt tame nurodytame puslapyje kitoks modelis, ne pas visus yra. Pas mane tai nr 13 skirejikas, nr 14 dangtelis.


Prikabinti failai:
a.png
a.png [ 13.09 KiB | Peržiūrėta 4874 kartus(ų) ]

_________________
BMW negenda, tik kartais tarpinė, tarp sėdynės ir vairo išeina iš rikiuotės.
StandartinėParašytas: 20 Geg 2010, 00:35 
Atsijungęs
 Aprašymas  
 
 
Vartotojo avataras
Registracija:
2009.02.27
Pranešimai:
1049
Automobiliai:
Ex E36 coupe 318is M42
o sitas projektas kurioj vietoj randasi?

_________________
bmwfan


StandartinėParašytas: 20 Geg 2010, 08:36 
Atsijungęs
 Aprašymas  
 
 
Vartotojo avataras
Registracija:
2008.01.23
Amžius:
38
Pranešimai:
146
Miestas:
Šiauliai
Automobiliai:
E36 318 92'
Tai žiurėk mano foto kur pridėjau aukščiau pačio variklio, raudona rodyklė su nr 2. Tiesa, jei jau atjunginėsi, po to teisingai sujunk žvaklaidžius tokia tvarka kokia buvo.

_________________
BMW negenda, tik kartais tarpinė, tarp sėdynės ir vairo išeina iš rikiuotės.


StandartinėParašytas: 20 Geg 2010, 09:40 
Atsijungęs
 Aprašymas  
 
 
Vartotojo avataras
Registracija:
2008.07.12
Amžius:
38
Pranešimai:
257
Miestas:
Vilnius
Automobiliai:
E39 diesel
Skype:
simookas1
lowrider rašė:
o sitas projektas kurioj vietoj randasi?

cia m40 varikliui jei pas tave kaip pagal aprasima tikrai m42 (isas) tai pas tave tokio baerio nera :D turi 4 atskiras babinas be jokiu skriejiku


StandartinėParašytas: 20 Geg 2010, 10:00 
Atsijungęs
 Aprašymas  
 
 
Vartotojo avataras
Registracija:
2009.12.28
Amžius:
40
Pranešimai:
48
Miestas:
Elektrenai
Automobiliai:
E36 318i
o kaip ir su kuom tu pravalei ta skriejika su dangteliu?


Rodyti paskutinius pranešimus:  Rūšiuoti pagal  
Naujos temos kūrimas Atsakyti į temą  [ 42 pranešimai(ų) ]  Eiti į Ankstesnis  1, 2, 3  Kitas

Visos datos yra UTC + 2 valandos [ DST ]


Dabar prisijungę

Vartotojai naršantys šį forumą: Registruotų vartotojų nėra


Jūs negalite kurti naujų temų šiame forume
Jūs negalite atsakinėti į temas šiame forume
Jūs negalite redaguoti savo pranešimų šiame forume
Jūs negalite trinti savo pranešimų šiame forume
Jūs negalite prikabinti failų šiame forume

Ieškoti:
Pereiti į:  
cron
Part of BMW Club Lithuania | Also visit BMW Club Gallery